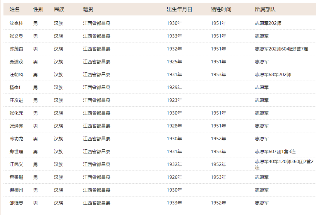
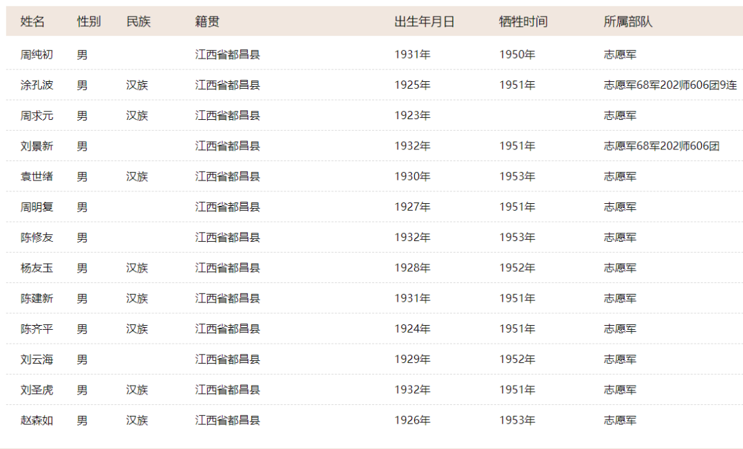
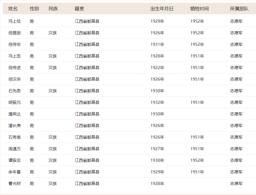
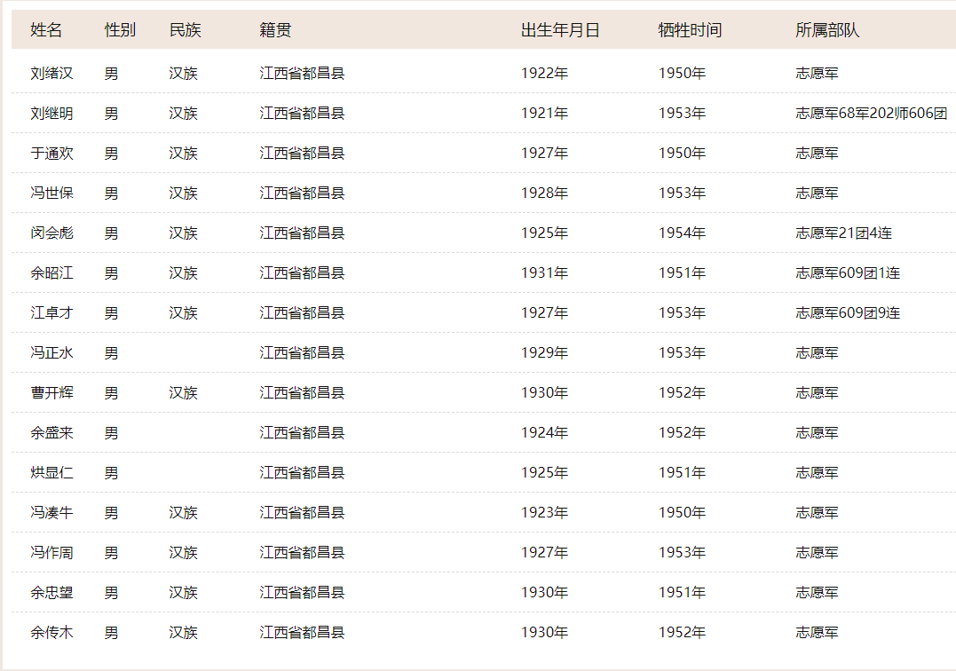
向抗美援朝中的都昌籍烈士致敬!
一首 “雄赳赳,气昂昂,跨过鸭绿江。保和平,为祖国,就是保家乡。中国好儿女,齐心团结紧,抗美援朝打败美帝野心狼”的《中国人民志愿军战歌》,充分体现了志愿军和全国人民的钢铁意志和坚强信念的,它曾响彻了朝鲜的土地。74年前的今天,19万余名志愿军为保家卫国,踏上抗美援朝战场,他们用生命,捍卫着国家的安全和尊严!
硝烟已散尽,枪膛已发凉。但人们对抗美援朝的研究和探讨,对那段激情岁月的追忆和回味,对志愿军战士的热爱与崇敬,对牺牲烈士的祭奠与缅怀都从未停止。今天,是抗美援朝74周年纪念日,让我们再次追忆那段难忘的历史,缅怀那些为祖国热血奋战的英雄!










来源:都昌县融媒体中心 抗美援朝纪念馆